
Ideal în caz de reabilitări
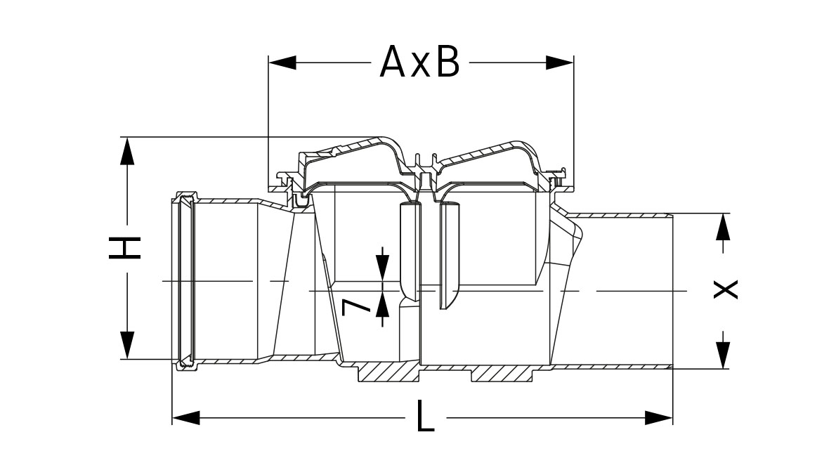
Dacă o clapetă antirefulare nu se mai potrivește în conducta existentă, aceasta poate spori efortul și costurile. Panta de cădere al Staufix Basic este de numai 7 mm de la admisie la scurgere – astfel se poate integra fără probleme. Versiunea „corp de bază conductă de curățare” este utilizabilă ca piesă de tencuit.

Fără probleme în funcționare – întreținere fără unealtă
Staufix Basic este alcătuită complet din material plastic – acesta îl protejează împotriva coroziunii. Însă aceasta nu este singura caracteristică prin care este simplă utilizarea lui: datorită închizătoarelor rapide practice, clapeta antirefulare poate fi deschisă fără unealtă pentru întreținere.

Nu ați găsit produsul potrivit?
În completare la clapetele noastre antiretur standard dezvoltăm la cererea clientului soluții individuale pentru cerințe deosebite în ceea ce privește forma, funcția și dimensionarea.



























